干货!泳池景观设计技巧大全!
发布时间2020-09-11 13:48:20
摘要:一、泳池分类泳池在景观水景设计中可以从功能与形式上分成两大类。功能上可分为:别墅类泳池、度假区酒店类泳池、屋顶类泳池和住宅类泳池等。形式上又可分为:规则式泳池、无边泳池和自然式泳池。二、泳池景观设计规范—池体1、公共游泳池的平面形状以采用矩形为*佳,如不能采取矩形的情况下,需保障泳池周边至少有三
一、泳池分类
泳池在景观水景设计中可以从功能与形式上分成两大类。功能上可分为:别墅类泳池、度假区酒店类泳池、屋顶类泳池和住宅类泳池等。形式上又可分为:规则式泳池、无边泳池和自然式泳池。
二、泳池景观设计规范—池体
1、公共游泳池的平面形状以采用矩形为*佳,如不能采取矩形的情况下,需保障泳池周边至少有三处观察点前视能够观察到任何角落;
2、新建人工游泳池(单个池)水面面积不小于100㎡,不大于800㎡,客户群体对泳池需求旺盛的情况下,可以采用规划多个泳池的办法解决;
3、公共游泳池应该设计成坡底,泳池一端为*浅端,另一端为*深端;
4、幼儿涉水池水深0.25—0.3m,儿童涉水池水深不大于0.6 m;
5、儿童涉水池宜单独设置,与公共泳池合并设置,公共泳池*浅处水深不应大于0.6 m,并儿童池与公共泳池必须使用栏杆分隔;
6、公共泳池*浅处水深不大于0.8 m,流水游泳池水深不大于1.2 m,造波池池底为斜坡时,其坡度不大于8%,且水深不大于1.8 m;
7、公共泳池应分设浅水区(水深1.2m以下)和深水区(水深1.2m以上),分界处应有明显标志,设置浮标隔断;
8、有成人水滑梯的,水池水深为0.7—0.8m;有儿童滑梯的,水池水深不大于0.6m;
9、池壁、池底呈浅色,没有影响救生员判断的图案,水面上设有桥、装饰物的,应有防止泳客进入的措施;
10、所有棱角及底角应为圆形,池壁应平整,池底应防滑,预埋件不应露出池底和池壁;
11、水深1.2m处的池壁水线下15cm位置预埋内陷式不锈钢环,便于系挂隔断浮标(小池无此要求);
12、游泳池四周铺设有防滑走道,其地表面的静摩擦系数不小于0.5,游泳池与防滑走道之间设有排水沟,并保障泳池溢水不会流到防滑走道。
三、泳池景观设计规范—辅助设施
1、更衣室与游泳池走道中间设有强制通过式浸脚消毒池,该池长不小于2m、宽度与走道宽度相同、深0.2m,更衣室与游泳池中间的走道地表面的静摩擦系数不少于0.5;
2、入池前及便后必须经淋浴消毒,更衣室与游泳池走道中间设有强制喷淋设备,男、女各一套,每套喷头数量不少于4个,其喷头喷出的水不能进入浸脚消毒池中;
3、有分设的男、女淋浴室,淋浴室每30—40人设一个沐浴喷头,有分设的男、女更衣室,并配有存放衣物的设施,更衣柜按每2.5㎡水域设置一个的标准建造,更衣室设施无锐角、利边,采用安全玻璃;
4、设有卫生间(女厕所每40人设一个便池,男厕所每60人设一个大便池和两个小便池)、器材库、办公室、急救室、售票室等设施;
5、室内、外游乐池均应有充足照明,室内采光系数为1/4—1/5,游泳池水面光照度不低于80lx,照明设备距离水面的高度不低于5m;
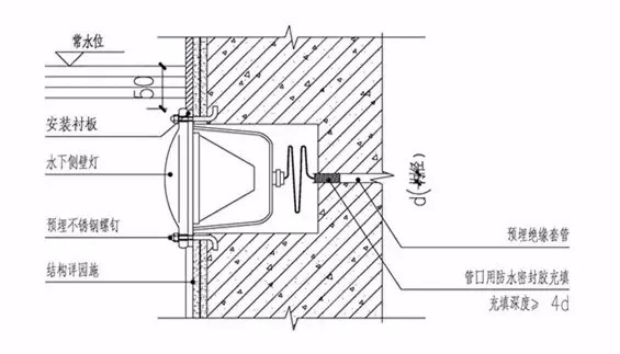
6、水中灯具工作电压不大于24V,其电源变压器的初、次级绕组见要采用相当于双重绝缘或加强绝缘水平的绝缘隔离,变压器初、次级间的绝缘电阻不小于7MΩ变压器绕组对金属外壳间的绝缘电阻不小于2MΩ,游泳池照明设备必须安装漏电保护器。
7、泳池管线及给回水口要求:
给水口设置:
a 形状为喇叭形,喇叭口面积不得小于连接管接面积的2倍;
b 喇叭口设置格栅护盖,成人游泳池的格栅孔隙不应大于10mm,儿童游泳池不应大于8mm,格栅护盖孔隙的水流速度不宜大于1.0m/s;
c 应采用铜、ABS塑料等耐腐蚀、不变形和不污染水质的材料制造。
回水口设置:
a 池水顺流式循环时,池底回水口的数量应按淹没流计算确定,但不得少于2个,应设在池底*低处,且宜做成坑槽式,回水口应并联接管;
c 回水口顶面应设隔栅板,成人游泳池的隔栅孔隙宽度不得超过10mm,儿童游泳池不得超过8mm,隔栅孔隙的水流速度不应大于0.2m/s;
d 隔栅板和盖座应采用铜、不锈钢及塑料等耐腐蚀的材料制造;
e 回水口的隔栅板和盖座安装在池底时,应固定牢靠,且与池底相平。
泄水口设置:
a 游泳池进水口应设在浅水一端,泄水口应设置在池底的*低处;
b 泄水口的数量按4h排空全部池水计算确定。
吸污口设置:
a 在池侧壁池水表面下0.5m处设置吸污接口;
b 游泳池宜每边侧壁设置3个,等距离布置,不规则游泳池宜按间距不大于20m设置一个;
c 吸污接口的连接管与循环水回水管分开设置,并应接至循环水泵的吸水管上,设阀门独立控制;
d 吸污接口连接管管径应根据池底吸污器同时使用数量确定;
e 池底吸污器工作时,池子回水管上的阀门应关闭。
四、泳池景观设计规范—水质标准
泳池水质必须符合以下标准:
1、PH值:6.8~8.2;游离性余氯:0.3~0.5mg/L;细菌总数:小于等于1000个/mL;大肠菌群:小于等于18个/L;尿素:小于等于3.5/L;浑浊度:小于等于5度(或在两岸能看清水深1.5米的池底四、五泳道线);
2、泳池无异味、无藻类、无漂浮物,池底无絮状物,溢水沟内无泥沙等杂物;
3、浸脚消毒池水的游离余氯含量应保持5~10毫克/升,浸脚池水每4小时更换一次;
4、强制喷淋水不能进入浸脚消毒池中。
五、泳池常见做法
1.休闲泳池
2.儿童泳池
3.泳池照明剖面图
4.带截水沟池壁剖面图
5.入池台剖面图
六、泳池观感验收标准
1、自然岸线泳池,岸线应平滑流畅,无明显直线段,曲线形泳池使整体环境景观变得活泼、生动、使周边空间围绕它产生富于变化的趣味。
2、泳池的马赛克图案为泳池增加装饰美化效果。图案应造型清晰、可辨,比例与泳池尺度搭配适宜,色彩不宜过多和杂乱。
3、儿童泳池一般靠近主泳池设置,便于大人照看,泳池周边需要布置一定数量的躺椅。
4、泳池下水台阶需有警示线的设置,转角需流畅、避免锐角。
5、泳池周边需考虑溢水方式,如下图中使用花岗石作盖板等距设置平溢水槽,在石材周边留出溢水。
6、使用侧溢水方式的泳池,一般比泳池平台略低30~50CM,该泳池以卵石作为溢水方式,也有直接用石材盖板作溢水方式。
七、泳池及配套设施设计工艺
1、 游泳池的成人池的水深一般控制在1.2~2m,并做单向放坡,或分深水与浅水区域;儿童游泳池水深一般控制在0.6~0.9m,儿童池贴临成人池设置时,应安装防护栏。
2、按摩池水深一般为0.9m,座位以上水深0.45m,一个按摩池的喷头一般分为四组,具体可根据实际调整。
3、洗脚消毒池要设置在进入游泳池的通道内,长度不小于2m,宽度宜与通道宽度相同,洗脚消毒水深为0.2m。
4、游泳池入水台阶的宽度控制建议为0.4m 或以上,台阶高度0.2m 左右;台阶边沿必须打磨成圆角,不得有尖锐的边角;台阶的踏面应用不同颜色的饰面材料做出警示线。
5、游泳池池底构造做法由上至下分别为:饰面材料、水泥砂浆结合层、防水层、水泥砂浆找平层、抗渗钢筋混凝土、混凝土垫层、稳定层及素土夯实;各层做法所用材料和强度可根据具体项目调整,池底需做变形缝,间隔一般为30m。
八、泳池施工技术控制要点
1、加强景观设计把控,提前与其他专业相协调,合理安排流线及其它功能设置,如吧台、换衣区、强淋等。
2、设计中应避免泳池座落在不同的基层上(如地库交界处),施工可由土建单位进行,并同步进行管线预埋和防水处理。
3、参照相关规范,以满足*低照明需求为前提,尽量减少灯具。
4、事先应进行计算,换水不超过12小时为宜。
5、施工应控制排水方向,同时可结合压顶翻边、排水沟进行有组织排水。
6、控制土壤高度,可采取沿土壤边缘种植地被、设置雨水井、排水明(暗)沟等措施解决。
7、靠近水面区域,以种植常绿乔木为宜。
8、光面压顶要慎重使用,木地板表面开细槽为宜,不应使用光面漆。
9、不宜采用塑料箅子,宜采用花岗岩(大于3CM)加工或其它复合材料。
10、应由厂家派专业人员现场放样,指导施工。
11、施工中应控制结构成型及底糙平整度,弧形区域可通过调整马赛克间隙进行消化,阳角位置可采用小马赛克或其它材料进行施工。
12、施工中应控制基层干燥及胶水透彻度,胶质水洗石区域应避免穿鞋入内。
13、设计阶段把控,现场放样。
14、电气设计中应充分考虑今后的使用。
15、园区内泳池应结合植栽、水域、栏杆等进行有效封闭。
九、泳池设计常见问题
1、泳池在区域中的位置和比例不当,与总体景观不协调,泳区行程及流线不当。
2、结构渗漏水。
3、泳池泛光照明在照度和定位上控制不当,影响泳池功能使用或周边居民休息。
4、不规则泳池岸线不够流畅,分区水面大小不利于功能的实现。
5、泳池给排水流量不当,造成开放期间清洁或维修困难。
6、铺装地雨水倒灌入泳池,造成泳池污染。
7、周边绿地雨水形成地表径流,直接流入泳池。
8、落叶对水面的污染。
9、临时区铺装地表面处理不当,易造成成人滑跌。
10、泳池排水沟盖板不够精细和坚实,与周边环境不协调。
11、马赛克图案拼花控制不够精细,锯齿不够圆顺。
12、马赛克铺贴不够平整,易出现大小头,阳角位置过硬、与给排水口或水下灯边缘不密实、空鼓与脱落等现象。
13、胶质水洗石易出现变色、脱落等现象。
14、雕塑小品,凉亭,水吧等构筑落的位置与比例控制不当。
15、未预留适合插座,在泳池开放后不利于使用。
16、泳池的封闭管理及安全问题。
17、游泳池周边排水沟、洗脚消毒池等设置不完善。
18、入池台阶位置不合理,入池台阶位置无警示标识。
19、游泳池台阶及池壁压顶饰面材料,边口不是圆角。
20 、游泳池跨越车库顶板和自然地面,未按规范设置变形缝,池底无排水坡度。
十、国外创意泳池案例分享
除了上述的常见泳池做法,设计师为了给业主带来不同视觉效果,对于景观泳池的设计也是一直在追求创新,今天我们也在此和大家分享国外一些极具想象力也是挑战力十足的创意泳池设计案例。
新泽西私家庭院小提琴泳池
苏梅岛诺拉布里梯田造型无边泳池
设计团队:图鉴建筑规划工程设计事务所
tujiansheji.com
上一篇: 玻璃幕墙施工标准
下一篇: 小技巧之——园林小路施工设计









